ສົ່ງອີເມວຫາພວກເຮົາ
ຜະລິດຕະພັນ
ເຄື່ອງສໍາອາງ CV Vacuum
  • ເຄື່ອງສໍາອາງ CV Vacuumເຄື່ອງສໍາອາງ CV Vacuum
  • ເຄື່ອງສໍາອາງ CV Vacuumເຄື່ອງສໍາອາງ CV Vacuum
  • ເຄື່ອງສໍາອາງ CV Vacuumເຄື່ອງສໍາອາງ CV Vacuum
  • ເຄື່ອງສໍາອາງ CV Vacuumເຄື່ອງສໍາອາງ CV Vacuum
  • ເຄື່ອງສໍາອາງ CV Vacuumເຄື່ອງສໍາອາງ CV Vacuum

ເຄື່ອງສໍາອາງ CV Vacuum

Model:CV-10HS
ໃນຖານະເປັນຜູ້ຜະລິດສູນຍາກາດ CV ມືອາຊີບ CV, ທ່ານສາມາດຮັບປະກັນໄດ້ຮັບການຊື້ເຄື່ອງສໍາອາງ CV VacuSuum ຈາກໂຮງງານແລະ Olk ຈະສະເຫນີການບໍລິການຫຼັງຈາກຂາຍທີ່ດີທີ່ສຸດແລະໃຫ້ເວລາ.

ຜູ້ຜະລິດສູນຍາກາດ CV ແມ່ນໃຊ້ເພື່ອສະພາບສະພາບແວດລ້ອມທີ່ຈໍາເປັນສໍາລັບການດູດຊືມຫລືເຄື່ອງປະດັບ. ທ່າເຮືອ Intake ຄວນຈະຖືກເຊື່ອມຕໍ່ກັບອາກາດທີ່ບີບອັດ, ໃນຂະນະທີ່ຈອກດູດແມ່ນເຊື່ອມຕໍ່ກັບພອດສູນຍາກາດ. ໃນເວລາທີ່ອັດແຫນ້ນກະແສໄຟຟ້າຈາກພອດ intake ກັບທ່າເຮືອທີ່ສະຫາຍ, ສູນຍາກາດແມ່ນຜະລິດຢູ່ທ່າເຮືອສູນຍາກາດ. ແຮງສູນຍາກາດນີ້ສາມາດໃຊ້ໃນການຍຶດຫມັ້ນວັດຖຸ, ບັນລຸວຽກງານເຊັ່ນ: ການແກ້ໄຂຫຼືການສະຫນັບສະຫນູນ, ປັບປຸງປະສິດທິພາບໃນການຜະລິດອຸດສາຫະກໍາ.


ຜູ້ຜະລິດສູນຍາກາດ Olk CV ມີໂຄງສ້າງງ່າຍໆແລະຊີວິດການບໍລິການຍາວນານ.


ເຄື່ອງຈັກຜະລິດເຄື່ອງຈັກຜະລິດເຄື່ອງມື VIV

1.A ໂດຍທົ່ວໄປການດູດຝຸ່ນທີ່ໃຊ້ອາກາດທີ່ບີບອັດເພື່ອປະກອບເປັນສູນຍາກາດສາມາດນໍາໃຊ້ໄດ້ໃນການປະສົມປະສານກັບເຄື່ອງດູດນ້ໍາ.

ຜະລິດຕະພັນ 2.vacuum ທີ່ມີລະດັບຄວາມກ້ວາງຂອງປະເພດແລະການປະຕິບັດເພື່ອຕອບສະຫນອງຄວາມຕ້ອງການຂອງແອັບພລິເຄຊັນຂອງທ່ານ.


ສັນຍາລັກ:

ລະຫັດສັ່ງ
ຊີວະໂລກ - 10 H S
ເຄື່ອງຈັກຜະລິດດູດເຄື່ອງດູດຝຸ່ນ LV ຊຸດ
nozzle ເສັ້ນຜ່າສູນກາງ (ຂະຫນາດຂອງ orifice) ຄວາມກົດດັນຂອງສູນຍາກາດບັນລຸໄດ້ ຄວາມກົດດັນຂອງການສະຫນອງທາງອາກາດ


10: φ1.0 H: -88kpar ປະເພດຄວາມກົດດັນ S: 5 ແຖບ


15: φ1.5



20: φ2.0

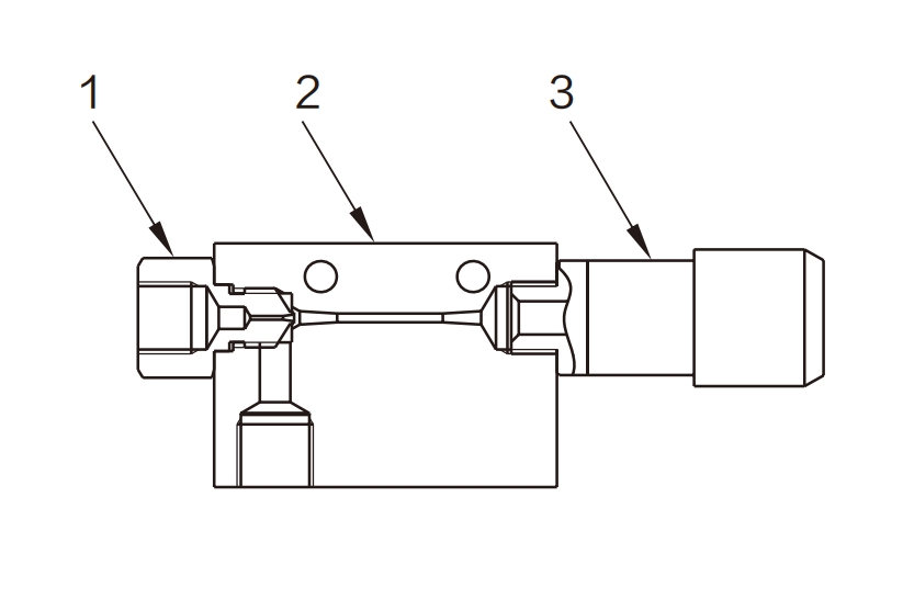
ບໍ່. ຊື່ ອຸປະກອນ
1 ພອດສະຫນອງ ທອງເຫລືອງ
2 ຮ່າງກາຍ ອະລູມີນຽມ
3 ຄວາມມິດງຽບ ປະສະຖະ

ໂດຍທົ່ວໄປ CV ເຄື່ອງກໍາເນີດການສູນພັນ 

ສື່ກາງ

ອາກາດທີ່ຖືກບີບອັດຈາກນ້ໍາມັນ

ລະດັບຄວາມກົດດັນທີ່ເຮັດວຽກ MPA (PSI)

0.1 ~ 0.6

ອຸນຫະພູມທີ່ເຮັດວຽກ° C

0 ~ 60 (ຢ່າແຊ່ແຂງ)

ຜະລິດຕະພັນ Series LEVE VEVUUH ເຄື່ອງກໍາເນີດທີ່ແຕກຕ່າງກັນ

ແບບ A B C D E F G H I J / V Port: ສູນຍາກາດ K L / P Port: Air Inlet O P Port Silencer / r: ສະຫາຍ
ປະເທດ CV10 45 33 16 10 8 14 20 4.5 φ4.2 G1 / 8 10 G1 / 8 14 90 G1 / 8
CV15 64 35 20 11 10 20 25 5 φ4.5 G1 / 4 15 G1 / 4 17 123.5 G1 / 4
cv20 85 40 30 15 13 28 32 7 φ6 G3 / 8 20 G1 / 4 17 165.5 G1 / 2

ແບບ

nozzle ເສັ້ນຜ່າສູນກາງ mm

ຈັດອັນດັບຄວາມກົດດັນ MPA

ການໄຫລວຽນຂອງການດູດນ້ໍາ r / min (Anr)

ສາມາດບັນລຸ KPA ຄວາມກົດດັນຂອງສູນຍາກາດ

ອັດຕາການບໍລິໂພກອາກາດ ROWE R / Min (AnR)

n.w (g)

CV-10hs

1

0.5

27

-0.92

44

80

cv-15hs

1.5

0.5

63

-0.92

100

140

cv-20hs

2

0.5

110

-0.92

180

350

ຂໍ້ຄວນລະວັງສໍາລັບການຜະລິດ Vacuumum CV


ອັດຕາການໄຫລຂອງການຜະລິດເຄື່ອງປັ່ນໄຟຕ້ອງຖືກເລືອກໃຫ້ຖືກຕ້ອງ.

ຖ້າອັດຕາການໄຫຼແມ່ນໃຫຍ່ເກີນໄປແລະບໍ່ເຫມາະສົມເກີນໄປ, ຄວາມແຕກຕ່າງຂອງຄວາມດັນທີ່ມີຄວາມກົດດັນລະຫວ່າງ "ການດູດຊືມ" ແລະ "ດູດ" ຈະບໍ່ແຈ້ງ.

ນີ້ອາດຈະເຮັດໃຫ້ມີການປ່ຽນສູນຍາກາດເພື່ອບໍ່ເຮັດວຽກຢ່າງຖືກຕ້ອງ.

ວາວອະໄພຍະກາອາດຈະມີບັນຫາຄືກັນ. ກະລຸນາເອົາໃຈໃສ່ເປັນພິເສດ, ແລະອ້າງເຖິງບັນທຶກທີ່ກ່ຽວຂ້ອງທີ່ແບ່ງປັນກ່ອນ.


2. ການສະຫນອງທາງອາກາດໃຫ້ກັບເຄື່ອງປັ່ນປ້ອງຈະສູນຫາຍຕ້ອງແຫ້ງແລະສະອາດ.

ລະຫວ່າງພອດສູນຍາກາດແລະຈອກດູດ, ເຄື່ອງກອງສູນຍາກາດຄວນໄດ້ຮັບການຕິດຕັ້ງຖ້າຈໍາເປັນ.

ຢ່າດູດຢູ່ໃນນ້ໍາ, ແລະໂດຍສະເພາະແມ່ນບໍ່ແມ່ນນ້ໍາມັນ, ເພາະວ່າສິ່ງນີ້ອາດຈະກີດຂວາງສາຍບື.

ການອອກຈາກ silence ຈະບໍ່ຖືກບລັອກ.

ຖ້າທ່ານຂະຫຍາຍທໍ່ລະບາຍ, ກະລຸນາພິຈາລະນາວ່າການຫາຍໃຈທີ່ບໍ່ດີນັ້ນອາດຈະເຮັດໃຫ້ເກີດຄວາມກົດດັນຂອງສູນຍາກາດຫຼຸດລົງ.


3.Sometimes ລະບົບສູນຍາກາດຈະເຊື່ອມຕໍ່ທໍ່ທີ່ມີຄວາມລະເບີດອອກເພື່ອຊ່ວຍໃຫ້ຈອກດູດໃຫ້ປ່ອຍເຄື່ອງເຮັດວຽກໄດ້ໄວ.

ໃນກໍລະນີນີ້, ກະລຸນາຮັບປະກັນວ່າຄວາມກົດດັນແລະການໄຫຼວຽນບໍ່ສູງເກີນໄປ.

ຖ້າຫາກວ່າສູງເກີນໄປ, ມັນອາດຈະລະເບີດອອກກົດຫມາຍວ່າ piston ແລະເຮັດໃຫ້ມີການຄຸ້ມຄອງລົ້ມເຫລວ.



ຄໍາຖາມ:

ແມ່ນຫຍັງຄືຄວາມແຕກຕ່າງລະຫວ່າງຜູ້ຜະລິດສູນຍາກາດແລະຈັກສູບນ້ໍາ?


ເຄື່ອງດູດນ້ໍາດູດສ້າງຄວາມກົດດັນທາງລົບຢູ່ທ່າກໍາປັ່ນດູດແລະສະຫາຍໂດຍກົງໃສ່ບັນຍາກາດ. ມັນກໍາຈັດອາຍແກັສໂດຍການຮັກສາຄວາມແຕກຕ່າງຂອງຄວາມກົດດັນໃຫຍ່ລະຫວ່າງການປ້ອນແລະທາງອອກ.


ເຄື່ອງປັ່ນປ້ອງຈະສູນຫາຍໄດ້ໃຊ້ກະແສລົມຂອງອາກາດທີ່ບີບອັດເພື່ອສ້າງສູນຍາກາດ.


ມີອຸປະກອນເສີມຫຍັງສໍາລັບເຄື່ອງຈັກຜະລິດ VacuSuum CV?

ຫນຶ່ງ silenceer ແລະສອງ fittings


ເປັນຫຍັງບໍ່ມີຕົວກໍານົດການດູດຊືມທີ່ແຍກຕ່າງຫາກ?

ກໍາລັງການດູດຊືມແມ່ນຂື້ນກັບທັງລະດັບສູນຍາກາດຂອງເຄື່ອງປັ່ນໄຟແລະຂະຫນາດຂອງຈອກດູດ.

ສູດ: ຄວາມກົດດັນ× Seal = Force.

ຂະຫນາດຈອກດູດຊືມແມ່ນມີການສ້ອມແຊມ, ແຕ່ວ່າການປ່ຽນແປງລະດັບສູນຍາກາດກັບເຄື່ອງກໍາເນີດໄຟຟ້າແລະອັດຕາການໄຫຼ. ກະລຸນາອ້າງອີງໃສ່ຄໍາອະທິບາຍຂອງພາລາມິເຕີສໍາລັບລາຍລະອຽດ.


ເປັນຫຍັງສູນຍາກາດບໍ່ສາມາດບັນລຸໄດ້?

ຖ້າຫາກວ່າການໄຫຼຂອງການດູດແມ່ນນ້ອຍເກີນໄປ, ມັນບໍ່ສາມາດເອົາຊະນະການຮົ່ວໄຫຼ, ເຊິ່ງກໍ່ໃຫ້ເກີດຄວາມກົດດັນຫຼຸດລົງ. ມັນຍັງອາດຈະເປັນຍ້ອນການສະຫນອງອາກາດບໍ່ພຽງພໍໃຫ້ກັບເຄື່ອງປັ່ນໄຟ.

ຖ້າເຄື່ອງປັ່ນໄຟໄປຮອດບ່ອນສູນຍາກາດສູງສຸດແລ້ວແຕ່ການດູດຍັງອ່ອນແອຍັງອ່ອນແອ, ຖ້ວຍດູດຍາວອາດຈະນ້ອຍເກີນໄປ. ການປ່ຽນແທນເຄື່ອງປັ່ນໄຟຈະບໍ່ເພີ່ມຂື້ນໃນກໍລະນີນີ້.


ເຄື່ອງປັ່ນອົບທີ່ມີຄວາມດູດຊືມທີ່ເຂັ້ມແຂງກວ່າເກົ່າ?

ເຄື່ອງປັ່ນໄຟໂຕຫນຶ່ງບໍ່ມີຕົວກໍານົດການດູດຊືມ "ກໍາລັງຟ້ອງ", ມີພຽງແຕ່ລະດັບສູນຍາກາດສູງສຸດເທົ່ານັ້ນ.

ສູນຍາກາດສູງສຸດບໍ່ເທົ່າກັບສູນຍາກາດທີ່ແທ້ຈິງ. ຄວາມແຕກຕ່າງທີ່ແທ້ຈິງລະຫວ່າງແບບແມ່ນອັດຕາການໄຫລຂອງສູນຍາກາດ.

ກໍາລັງແຮງດູດ = ປ້ອງກັນບໍລິເວນປ້ອງກັນດ້ານຖ້ວຍ. ມັນແມ່ນການປະສົມປະສານຂອງເຄື່ອງປັ່ນໄຟແລະຈອກດູດທີ່ກໍານົດການດູດຊືມ.

ຖ້າຫາກວ່າອັດຕາການສູນພັນຂອງເຄື່ອງຈັກຜະລິດເຄື່ອງຈັກຜະລິດແມ່ນຕໍ່າເກີນໄປສໍາລັບການສະຫມັກ, ລະດັບສູນຍາກາດຈະບໍ່ພຽງພໍ. ໃນກໍລະນີດັ່ງກ່າວ, ທ່ານຄວນເລືອກ

ລາຍການ

ສູບນ້ໍາດູດ

ເຄື່ອງຈັກຍາກາດ

ສູນຍາກາດສູງສຸດ

ເຖິງ 101.3 KPA (ສາມາດບັນລຸມູນຄ່າສູງສຸດໃນເວລາດຽວກັນ)

ເຖິງ 88 kPa (ບໍ່ສາມາດບັນລຸມູນຄ່າສູງສຸດໃນເວລາດຽວກັນ)

ອັດຕາການດູດນ້ໍາ

ກວ້າງໃຫຍ່

ບໍ່ຕ່ໍາ

ໂຄງສ້າງ

ສະລັບສັບຊ້ອນ

ງ່າຍ

ປະລິມານ

ປຸ້ມ

ຂະຫນາດນ້ອຍຫຼາຍ

ນ້ໍາຫນັກ

ຫນັກ

ແສງຫຼາຍ

ຊີວິດການບໍລິການ

ກັບພາກສ່ວນທີ່ເຄື່ອນຍ້າຍ; ຂ້ອນຂ້າງຍາວ

ບໍ່ມີພາກສ່ວນທີ່ເຄື່ອນເຫນັງ; ຊີວິດການບໍລິການຍາວນານ

ການບໍລິໂພກພະລັງງານ

ຂ້ອນຂ້າງສູງ

ຂ້ອນຂ້າງສູງ

ລາຄາ

ສູງ

ຕ່ໍາ

ການຕິດຕັ້ງ

ບໍ່ສະດວກ

ສະດວກ

ການບໍາລຸງຮັກສາ

ຕ້ອງການ

ບໍ່ຈໍາເປັນຕ້ອງ

ການເຊື່ອມໂຍງກັບອຸປະກອນເສີມ

ຍາກພໍກິນ

ງ່າຍ

ການຜະລິດດູດນ້ໍາແລະປ່ອຍ

ຊ້າ

ອົດອາຫານ

ຖົ່ວດໍາແຮງດັນ

ມີພະລັງງານ, ຖັງສູນຍາກາດທີ່ຕ້ອງການ

ບໍ່ຈໍາເປັນຕ້ອງມີຊຸດກະສິກໍາ

ຂົງເຂດການນໍາໃຊ້

ເຫມາະສໍາລັບການປະຕິບັດງານທີ່ມີການໄຫຼວຽນຢ່າງຕໍ່ເນື່ອງ, ສູງ; ບໍ່ເຫມາະສົມກັບການເລີ່ມຕົ້ນເລື້ອຍໆ / ຢຸດ; ທີ່ດີທີ່ສຸດສໍາລັບການນໍາໃຊ້ທີ່ເປັນສູນກາງ

ຮຽກຮ້ອງໃຫ້ມີການສະຫນອງທາງອາກາດທີ່ຖືກບີບອັດ; ເຫມາະສໍາລັບການດໍາເນີນງານການໄຫຼວຽນຕ່ໍາທີ່ຊົ່ວຄາວ; ທີ່ດີທີ່ສຸດສໍາລັບການແຈກຢາຍທີ່ແຈກຢາຍ; ອຸປະກອນການສາມາດດັດແກ້ເພື່ອບັນລຸຄວາມຕ້ານທານຄວາມຮ້ອນແລະຄວາມຕ້ານທານການກັດກ່ອນ

Hot Tags: ຜູ້ຜະລິດສູນຍາກາດ CV, ຈີນ, ຜູ້ຜະລິດ, ຜູ້ສະຫນອງ, ໂຮງງານ
ສົ່ງສອບຖາມ
ຂໍ້​ມູນ​ຕິດ​ຕໍ່
  • ທີ່ຢູ່

    ຖະຫນົນ Zhengtai, ເຂດອຸດສາຫະກໍາ Xinguang, Lushi, yueoqing, Wenzhou, Zhejhou, Zhejhou, ຈີນ.

  • ອີເມລ

    cici@olkptc.com

ຍິນດີຕ້ອນຮັບເວັບໄຊທ໌ຂອງພວກເຮົາ! ສໍາ​ລັບ​ການ​ສອບ​ຖາມ​ກ່ຽວ​ກັບ​ຜະ​ລິດ​ຕະ​ພັນ​ຫຼື pricelist ຂອງ​ພວກ​ເຮົາ​, ກະ​ລຸ​ນາ​ປ່ອຍ​ໃຫ້​ອີ​ເມວ​ຂອງ​ທ່ານ​ກັບ​ພວກ​ເຮົາ​ແລະ​ພວກ​ເຮົາ​ຈະ​ຕິດ​ຕໍ່​ພົວ​ພັນ​ພາຍ​ໃນ 24 ຊົ່ວ​ໂມງ​.
ອີເມລ
cici@olkptc.com
ໂທ
86-0577 57178620
ມືຖື
+86-13736765213
ທີ່ຢູ່
ຖະຫນົນ Zhengtai, ເຂດອຸດສາຫະກໍາ Xinguang, Lushi, yueoqing, Wenzhou, Zhejhou, Zhejhou, ຈີນ.
X
ພວກເຮົາໃຊ້ cookies ເພື່ອສະເຫນີໃຫ້ທ່ານມີປະສົບການການຊອກຫາທີ່ດີກວ່າ, ວິເຄາະການເຂົ້າຊົມເວັບໄຊທ໌ແລະປັບແຕ່ງເນື້ອຫາ. ໂດຍການນໍາໃຊ້ເວັບໄຊທ໌ນີ້, ທ່ານຕົກລົງເຫັນດີກັບການນໍາໃຊ້ cookies ຂອງພວກເຮົາ. ນະໂຍບາຍຄວາມເປັນສ່ວນຕົວ
ປະຕິເສດ ຍອມຮັບ