ສົ່ງອີເມວຫາພວກເຮົາ
ຜະລິດຕະພັນ
3V2 ວາວ solenoid 3 ວິທີການ
  • 3V2 ວາວ solenoid 3 ວິທີການ3V2 ວາວ solenoid 3 ວິທີການ
  • 3V2 ວາວ solenoid 3 ວິທີການ3V2 ວາວ solenoid 3 ວິທີການ

3V2 ວາວ solenoid 3 ວິທີການ

ຕໍ່ໄປນີ້ແມ່ນການແນະນໍາກ່ຽວກັບວາວ solenoid 3v2, ວິທີທີ່ແນ່ນອນ, ຫວັງວ່າຈະຊ່ວຍໃຫ້ທ່ານເຂົ້າໃຈວາວ solenoid 3 solenoid. ຍິນດີຕ້ອນຮັບລູກຄ້າໃຫມ່ແລະເກົ່າໃຫ້ສືບຕໍ່ຮ່ວມມືກັບພວກເຮົາເພື່ອສ້າງອະນາຄົດທີ່ດີກວ່າເກົ່າ!

ປ່ຽງ solenoid ຂະຫນາດ 3V2 ແມ່ນນ້ອຍ, ເບົາ, ແລະຕິດຕັ້ງງ່າຍ. ຮ່າງກາຍຂອງມັນແມ່ນເຮັດດ້ວຍອາລູມິນຽມທີ່ແຂງແຮງ, ເຊິ່ງຕ້ານທານກັບການຫົດຕົວແລະຄວາມເສຍຫາຍ. ປ່ຽງໃຊ້ຝາປິດ solenoid ທີ່ມີຄວາມຫນ້າເຊື່ອຖືກັບຕົວເລືອກສໍາລັບ DC12V, DC24V, AC110V ພະລັງງານ AC220V.

ເຄື່ອງຫມາຍ OLK 3V2 Solenoid Valve ເຮັດວຽກໄດ້ດີສໍາລັບການຄວບຄຸມອາກາດປານກາງ. ມັນສັບປ່ຽນຢ່າງໄວວາ, ໃຊ້ອໍານາດພຽງເລັກນ້ອຍ, ແລະແກ່ຍາວເປັນເວລາດົນນານ. ມັນສາມາດປິດໄດ້ຕາມປົກກະຕິ (NC), ໂດຍປົກກະຕິເປີດ (ບໍ່ມີ), ຫຼືສອງຊັ້ນ -olenoid. ມັນຖືກນໍາໃຊ້ໃນສາຍອັດຕະໂນມັດ, ເຄື່ອງຫຸ້ມຫໍ່, ເຄື່ອງພິມ, ເຄື່ອງພິມ, ແລະເຄື່ອງອາຫານ. ຂະຫນາດນ້ອຍຂອງມັນເຮັດໃຫ້ມັນດີເລີດສໍາລັບສະຖານທີ່ທີ່ແຫນ້ນຫນາ.

3V2 Solenoid Valve ຜະລິດຕະພັນ 3 ວິທີ

ໂຄງສ້າງ - ການສະແດງດ້ວຍການສະແດງທີ່ມີຄວາມລະອຽດອ່ອນ.

2. ປິດ (NC) ແລະໂດຍປົກກະຕິເປີດ (ບໍ່ມີ).

ການອອກແບບປິດ 3.COAXIAL ສໍາລັບການປະທັບຕາທີ່ດີແລະກະແສໃຫຍ່.

4. ບໍ່ຈໍາເປັນຕ້ອງມີການຫລໍ່ຫລອມ.

5.EQUIPPPED ທີ່ມີ Override ຄູ່ມືສໍາລັບການຕິດຕັ້ງງ່າຍແລະທົດສອບ.

ມີທາງເລືອກແຮງດັນໄຟຟ້າມາດຕະຖານ 6.Multiple.

ສັນຍາລັກຂອງປ່ຽງ 3V2:

ລະຫັດສັ່ງ

3V

2

-

08

nc

A

 

 

 

ແບບ

ລະຫັດ

 

 ຂະຫນາດ Port

ປະເພດການສະແດງ

ແຮງດັນມາດຕະຖານ

ການເຂົ້າໄຟຟ້າ

ປະເພດກະທູ້

 

3V: 2 ຕໍາແຫນ່ງ 3 ທາງ

2: 2 ຊຸດ

 

06: G1 / 8

NC: ປິດປົກກະຕິແລ້ວ

A: AC220V

ເປົ່າຫວ່າງ: ປະເພດຂອງທ່ານ

ເປົ່າ: g

 

 

 

 

08: G1 / 4

ບໍ່: ປົກກະຕິເປີດ

b: DC24V

i: ປະເພດເສັ້ນ

t: NPT

 

 

 

 

 

 

c: Ac110v

 

 

 

 

 

 

 

 

e: ac24v

 

 

 

 

 

 

 

 

f: DC12V

 

 

 


ແບບ

3V206

3V208

ສື່ກາງ

ອາກາດ (ກັ່ນຕອງໂດຍການກັ່ນຕອງ 40 μmຫຼືຂ້າງເທິງ)

ອາກາດ (ກັ່ນຕອງໂດຍການກັ່ນຕອງ 40 μmຫຼືຂ້າງເທິງ)

ປະເພດການສະແດງ

ການສະແດງໂດຍກົງ

ຂະຫນາດ Port

G1 / 8

G1 / 4

ຕໍາແຫນ່ງແລະທາງ

2 ຕໍາແຫນ່ງ 3 ທາງ

ພື້ນທີ່ທີ່ມີປະສິດຕິຜົນ

3.2 MM² (CV = 0.18)

3.4 MM² (CV = 0.19)

ການຫົດນ້ໍາ

ບໍ່ຈໍາເປັນຕ້ອງ

ລະດັບຄວາມດັນຂອງປະຕິບັດການ

0 ~ 0.8 MPA (0 ~ 114 PSI)

ຄວາມກົດດັນສະແດງຫຼັກຖານ

1.5 MPA (215 PSI)

ອຸນຫະພູມປະຕິບັດການ (℃)

-20 ~ 70

ວັດສະດຸຂອງຮ່າງກາຍ

ໂລຫະປະສົມອາລູມີນຽມ

 

ແຮງດັນມາດຕະຖານ

AC220V AC110 AC24V DC24V DC12V

ເຄື່ອງແຮງໄຟຟ້າ

AC: ± 15% DC: ± 10%

ການບໍລິໂພກພະລັງງານ

AC: 7VA DC: 7.0W

ຫ້ອງຮຽນປົກປ້ອງ

IP65 (DIN40050)

ຊັ້ນສນວນ

B ໃນລະດັບ B

ປະເພດການເຊື່ອມຕໍ່

ປະເພດ PLUG / ປະເພດເສັ້ນ

min.Excitation ທີ່ໃຊ້ເວລາ

0.05 ວິນາທີ


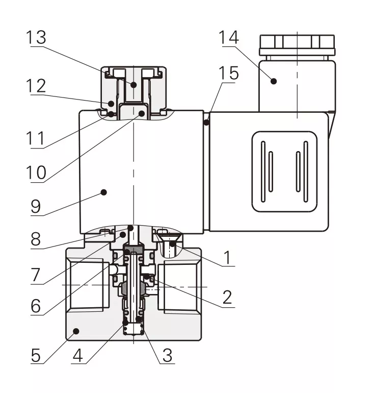
ບໍ່.

ຊື່

1

screw countersunk

2

ເສອແຂນ Spacer

3

ສະພາແຫ່ງ Core

4

ລະດູໃບໄມ້ຫຼົ່ນ

5

ຮ່າງກາຍ

6

ກຸກ ໆ

7

ສະຫະພັນ

8

plunger rod

9

ດອກໄຟ

10

ການເຄື່ອນຍ້າຍທາດເຫຼັກແກນ

11

ເຄື່ອງຊັກຜ້າຄົງທີ່

12

ຫມາກແຫ້ງ

13

ປຸ່ມຄູ່ມື

14

ທີ່ມີຢູ່ຫຼາຢ

15

gasket ປາຍ


ລາຍການ

3V1-M5 / 3V1-06

2V025-06 / 2V025-08

3V2-06 / 3V2-08

3V3-08

ສື່ກາງ

ອາກາດ

ອາກາດ, ນໍ້າ, ນ້ໍາມັນ

ອາກາດ

ອາກາດ

ລັດໃນເບື້ອງຕົ້ນ:

nc

nc / ບໍ່

ບໍ່ / NC

ບໍ່ / NC

ປະເພດການປະຕິບັດ

ການສະແດງໂດຍກົງ

ການສະແດງໂດຍກົງ

ການສະແດງໂດຍກົງ

ການສະແດງໂດຍກົງ

ຂະຫນາດ Port

m5; G1 / 8

G1 / 8; G1 / 4

G1 / 8; G1 / 4

G1 / 4

ຕໍາແຫນ່ງແລະທາງ

3 ທ່າເຮືອ 2 ຕໍາແຫນ່ງ

2 ທ່າເຮືອ 2

3 ທ່າເຮືອ 2 ຕໍາແຫນ່ງ

3 ທ່າເຮືອ 2 ຕໍາແຫນ່ງ

ການຫົດນ້ໍາ

ບໍ່ຈໍາເປັນຕ້ອງ

ບໍ່ຈໍາເປັນຕ້ອງ

ບໍ່ຈໍາເປັນຕ້ອງ

ບໍ່ຈໍາເປັນຕ້ອງ

ຄວາມກົດດັນໃນການເຮັດວຽກ

0-0.7 MPA

0-0.7 MPA

0-0.8 MPA

0-0.8 MPA

ຄວາມກົດດັນສະແດງຫຼັກຖານ

1.2 MPA

1.5 MPA

1.2 MPA

1.2 MPA

ຂະຫນາດຂອງ orifice

φ1.2ມມ

nc / ບໍ່

φ3.2ມມ / φ3.4ມມ

φ11ມມ (ກະແສລົມຂະຫນາດໃຫຍ່)


အချက်

ຖາມ: ຕົ້ນຕໍແຕກຕ່າງກັນແນວໃດລະຫວ່າງປ່ຽງ solenoid ຂະຫນາດ 3V2 ແລະ 3V3?

A: 3v2: ການໄຫລວຽນຂອງກາງ, ຊຸດສໍາລັບລະບົບຄວບຄຸມ pneumatic ຂະຫນາດນ້ອຍ

3V3: ຊຸດທີ່ສູງ, ຊຸດສໍາລັບໃຊ້ກະບອກສູບຫຼາຍຫຼືມີການກະຕຸ້ນສູງ.

ຄວາມແຕກຕ່າງຂອງໂຄງສ້າງ: 3V3 ມີຮ່າງກາຍທີ່ໃຫຍ່ກວ່າແລະສາມາດຈັດການກັບຄວາມກົດດັນສູງແລະກະແສ.


ຖາມ: ຂະຫນາດຂອງ Valve Valenoid ຂະຫນາດ 3V2 ແມ່ນຫຍັງ?

A: ຂະຫນາດຂອງປ່ຽງ 3V2-06 ແມ່ນ 3.2mm; ຂະຫນາດຂອງປ່ຽງ 3v2-06 ແມ່ນ 3.4mm


ຖາມ: ຜະລິດຕະພັນໃດທີ່ສາມາດເຮັດໄດ້ 3V2 ທົດແທນ?

A: ຂະຫນາດຂອງປ່ຽງ 3V2-06 ແມ່ນ 3.2mm; ຂະຫນາດຂອງປ່ຽງ 3v2-06 ແມ່ນ 3.4mm


Hot Tags: ວາວຂະຫນາດ 3V2 Solenoid 3 ວິທີການ, ປະເທດຈີນ, ຜູ້ຜະລິດ, ຜູ້ສະຫນອງສິນຄ້າ, ໂຮງງານ
ສົ່ງສອບຖາມ
ຂໍ້​ມູນ​ຕິດ​ຕໍ່
  • ທີ່ຢູ່

    ຖະຫນົນ Zhengtai, ເຂດອຸດສາຫະກໍາ Xinguang, Lushi, yueoqing, Wenzhou, Zhejhou, Zhejhou, ຈີນ.

  • ອີເມລ

    cici@olkptc.com

ຍິນດີຕ້ອນຮັບເວັບໄຊທ໌ຂອງພວກເຮົາ! ສໍາ​ລັບ​ການ​ສອບ​ຖາມ​ກ່ຽວ​ກັບ​ຜະ​ລິດ​ຕະ​ພັນ​ຫຼື pricelist ຂອງ​ພວກ​ເຮົາ​, ກະ​ລຸ​ນາ​ປ່ອຍ​ໃຫ້​ອີ​ເມວ​ຂອງ​ທ່ານ​ກັບ​ພວກ​ເຮົາ​ແລະ​ພວກ​ເຮົາ​ຈະ​ຕິດ​ຕໍ່​ພົວ​ພັນ​ພາຍ​ໃນ 24 ຊົ່ວ​ໂມງ​.
ຄໍາແນະນໍາຂ່າວ
ອີເມລ
cici@olkptc.com
ໂທ
86-0577 57178620
ມືຖື
+86-13736765213
ທີ່ຢູ່
ຖະຫນົນ Zhengtai, ເຂດອຸດສາຫະກໍາ Xinguang, Lushi, yueoqing, Wenzhou, Zhejhou, Zhejhou, ຈີນ.
X
ພວກເຮົາໃຊ້ cookies ເພື່ອສະເຫນີໃຫ້ທ່ານມີປະສົບການການຊອກຫາທີ່ດີກວ່າ, ວິເຄາະການເຂົ້າຊົມເວັບໄຊທ໌ແລະປັບແຕ່ງເນື້ອຫາ. ໂດຍການນໍາໃຊ້ເວັບໄຊທ໌ນີ້, ທ່ານຕົກລົງເຫັນດີກັບການນໍາໃຊ້ cookies ຂອງພວກເຮົາ. ນະໂຍບາຍຄວາມເປັນສ່ວນຕົວ
ປະຕິເສດ ຍອມຮັບ